DRAUGHT PROOFING DOORS & WINDOWS
Wind and waterproof peripheral frame seal for windows and doors. Gaps can be sealed well by mounting this silicon seal.
The flexible silicone has a low closing resistance and can be easily cut to size with frame cutters.
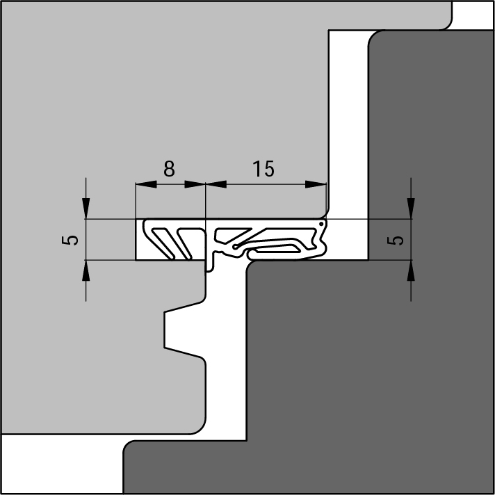
Circular frame seal for windows and doors with a rebate width of 15 mm.
Description
- Flexible silicone peripheral frame seal
- Draught proofing
- Low closing resistance
- With reinforcement wire in the head
- Application: for doors and windows
- Easy to cut to size, also at an angle
Technical details
- Frame seal on reel: 150 m
- Max gap: 7 mm
- Groove size: 5 x 8 mm
- Groove width: 15 mm

Specifications frame seal
| LENGTH | ART.NR | COLOUR | EAN (PC.) | UNIT |
| 150 m | 680524901 | Black | 8711286805624 | 1 roll |
Montage advies
Draft through gaps around an interior door can easily be stopped by correctly installing the peripheral frame seal. Read the supplied installation instructions, watch the installation instruction video and follow the step-by-step plan.
Prepare the necessary materials in advance:
- Tape measure
- Pen
- Frame cutting pliers or scissors
- Chissel
Step-by-step guide: installing peripheral frame seal 1505 SCF
- Remove the old frame seal from the frame
- Check whether the 'head' height of the old frame seal is the same as the new frame seal
- Measure the length of the old frame seal and cut the new frame seal slightly longer
- Place the new frame seal in the frame. Start at the top of the frame in the middle
Work clockwise. - Mark a line in the top right corner of the frame seal
- Cut the frame seal at the location of the line, use frame cutting pliers or a frame cutting aid for this
Note: the frame profile must not be cut completely!
> frame cutting aid: place the frame with the line in the middle and cut out the corner with a chisel
> frame cutting pliers: place the frame with the line in the middle and cut out the corner